3. VARS

3.1. Morfogenees ja steeliteooria

Varre varajane histogenees vastab eespool kirjeldatule. Edasisel diferentseerumisel, kasvukuhikust kaugemal on märgata rakkude jagunemist nelja suuremasse rühma (joonis). Välimist, tuunikast tekkinud kihti nimetatakse protodermiks, sellest kujuneb epiderm. Protodermist seespool paikneb korpusest pärinev proparenhüüm, millest tekivad kõik esikoore koed, edasi tuleb püsimeristeem, mis areneb prokambiumiks ning algsäsi, mis muutub edasise arengu käigus säsiks. Prokambiumist tekivad kesksilindri välimised kihid -- protofloeem, uus prokambium ja protoksüleem.

Püsimeristeemi ja algsäsi derivaate nimetatakse kesksilindriks ehk steeliks. Steelitüüpe eristatakse floeemi ja ksüleemi paigutuse järgi, nende evolutsioonist annab ülevaate joonis.

Kõik steelid on evolutsioneerunud protosteelist, mis koosneb sambana kulgevast ksüleemist ja seda ümbritsevast floeemist. Protosteel esineb tänapäeval üksikutel sõnajalgtaimedel varre alumises osas ning vees kasvavatel katteseemnetaimedel.

Protosteelist kujunes aktinosteel (kiirjas kesksilinder), kus ksüleem on sopistunud floeemi vahele. Praegu elavatel soontaimedel esineb see juurtes. Kui ksüleem esineb kitsaste ribadena, nagu koldade (Lycopodium) vartes, räägitakse plektosteelist (põimjas kesksilinder).

Teine, evolutsiooniliselt edukam arengutee algab sifonosteeliga (torusteeliga), kus juhtkude ümbritseb põhikudet -- säsi. Kui floeem esineb ksüleemist ainult väljaspool, on tegemist ektofloidse sifonosteeliga, kui aga mõlemal pool ksüleemi, siis amfifloidse sifonosteeliga.

Viimasest on edasi arenenud diktüosteel (polüsteel). Siin on ebakorrapärase suurusega harusteelide ksüleem ümbritsetud floeemist. Diktüosteel esineb sõnajalgtaimedel.

Kaasaegsete kaheiduleheliste taimede vartes esineb kollateraalsetest juhtkimpudest koosnev eusteel, üheidulehelistel aga korrapäratult paiknevatest juhtkimpudest moodustunud ataktosteel. Artrosteel on sisuliselt eusteeli erijuht, siin on kollateraasete juhtkimpude asemel bikollateraalsed.

Olulised mõisted morfogeneesi käsitlemisel on esikasv ja teiskasv ehk resp. primaarne ja sekundaarne kasv.

Esikasvu moodustuvad kõik koed, mis saavad alguse kasvukuhikust äsjakirjeldatud viisil. Mitmeaastastel taimedel võib esikasvuks pidada valdavat osa esimesel eluaastal tekkinud kudedest.

Teiskasv seisneb juhtkimpude mahusuurenemises, mille tagajärjel vars jämeneb, kuid ei pikene. Teiskasv algab harilikult teisel eluaastal (sõltub kliimast ja taime liigilistest iseärasustest). Tekkivate kudede nimetuse esimene sõna on teis-, näiteks teispuit, teissäsikiired.



3.2. Varre esikasv

Primaarse ehitusega varsi ümbritseb epiderm, mille rakukestad on kutiniseerunud. Epidermi välispinda katab kutiikula. Õhulõhed ja karvad on varre epidermile vähem iseloomulikud kui lehtedele.

Epidermi all on põhikoest koosnev esikoor, mida kloroplastide esinemisel nimetatakse klorenhüümiks, suurte rakuvaheruumide korral ka aerenhüümiks. Esikoore põhikude võib talitleda säilituskoena. Vahel esineb siin kivisrakke ning kaltsiumoksalaadi kristalle. Esikoore välises, vahetult epidermi all asetsevas kihis paikneb sageli kollenhüüm. Enamasti ei moodusta kollenhüüm lausalist rõngast, vaid esineb ribadena varre kantidel. Kõrrelistel ja mõnedel okaspuudel, harvem teistel taimedel, on esikoores esinevaks tugikoeks sklerenhüüm.

Esikoore sisemine rakkude kiht erineb ülejäänud esikoorest: selle rakud on pisut väiksemad, tihedamalt üksteise kõrval ja neljakandilised. Seda kihti nimetatakse endodermiks, rohke tärklisesisalduse tõttu ka tärklistupeks. Endodermis võib esineda ka Caspary jooni.

Esikoorest seespool asub varre kesksilinder (steel), mille tüüpide kirjeldus on toodud eelmises peatükis. Steeli välimine rakukiht on peritsükkel (perikambium). Siit algavad lisajuured ja -pungad. Mitmekihilise peritsükli rakkudest võib kujuneda perivaskulaarne tugikude, (enamasti niinekiud) ning säsi. Sellise päritoluga mehaaniline kude paikneb taimes enamasti üksikute kimpudena, harvem moodustub pidev silinder. Piir esikoore ja kesksilindri vahel ei tarvitse olla selgelt eristatav.

Juhtkimbud asuvad kesksilindris kas ühe korrapärase ringina (kaheidulehelised) või korrapäratult laialipillatuna (üheidulehelised). Nende arv sõltub taimeliigist ning kasvutingimustest.

Üheiduleheliste taimede korrapäratult asetsevate juhtkimpudega kesksilindrit nimetatakse ataktosteeliks. Varre välispinna lähedal on juhtkimbud ja põhikoe rakud väiksemad, varre keskosas suuremad. Kui vars on õõnes, nagu enamikul kõrrelistest (Poaceae), võivad ka üheidulehelistel juhtkimbud olla paigutunud suhteliselt korrapäraselt.

Kaheiduleheliste taimede juhtkimbud on avatud, ksüleemi ja floeemi vahele jääb ühe- või mitmekihiline kambium. Kambiumirakud on prosenhüümsed, ristlõikes lamedad, enamasti teritunud tippudega, õhukesekestalised, üleni protoplasmaga täitunud ja suuretuumalised. Juhtkimpudes esineb kimbu- ehk fastsikulaarkambium, juhtkimpude vahel, säsikiirtes võib tekkida kimbuvahe- ehk interfastsikulaarne kambium. Nende kahe kambiumi servad liituvad ja nii moodustub varres pidev kambiumsilinder (puittaimedel on see juba algusest peale). Kambiumirakud poolduvad nii tangentsiaalselt, andes uusi floeemi ja ksüleemirakke, kui ka radiaalselt, vältimaks kambiumirõnga katkemist varre jämenemisel. Puhkeperioodide ajal on kambium enamasti ühekihiline.

Ksüleem sisaldab trahheiide ja trahheesid. Vanimad ksüleemi elemendid (trahheiidid) asuvad varre keskosas. Kaheiduleheliste taimede ksüleem sisaldab ka tugikudet -- puidukiude (libriformi). Lisaks esineb ksüleemis põhikude, mille rakud on vähemal või rohkemal määral puitunud. Seda nimetatakse ksüleemi põhikoeks.

Floeemi olulisemateks elementideks on sõeltorud ja saaterakud. Harilikult paikneb iga sõeltoru kõrval üks saaterakk. Floeemis leidub ka tugikudet -- niinekiude ning põhikudet (floeemi põhikude). Niinekiud on enamasti puitunud.

Juhtkimbud võivad olla ümbritsetud põhikoelisest, sagedamini aga sklerenhüümsest kimbutupest. See on paksem juhtkimbu sisemisel ja välimisel küljel, kambiumi kohal on aga kimbutupp õhuke ja võib seal olla isegi katkenud.

Steelis asuvat põhikudet, mis jääb juhtkimpudest sissepoole ja nende vahele, nimetatakse säsiks (medulla). Juhtkimpude vahele jäävad säsikiired. Esikasvu perioodil tekivad esi-säsikiired, need ulatuvad steeli keskosa täitva säsini.

Säsile on tunnuslik hästiarenenud rakuvaheruumide olemasolu. Rohttaimede säsirakud on õhukesekestalised ja elusad, puittaimedel need aja jooksul enamasti puituvad, surevad ja täituvad õhuga. Säsikiire rakud säilitavad varuaineid, läbi nende kulgeb ainete radiaalsuunaline transport. Säsi välimises osas paiknevad rakud on väiksemad ja pikaealisemad, seda piirkonda nimetatakse vahel ka perimedullaartsooniks. Kui varre keskosas säsirakud surevad (rohttaimede puhul tavaline nähtus), tekib sinna õõnsus.

Primaarse ehitusega on ka kaheiduleheliste ning üheiduleheliste taimede maa-alused varred ehk risoomid. Nende siseehitusele on iseloomulik tüseda esikoore põhikoe kihi esinemine, hästiarenenud endoderm ja peritsükkel. Väliselt eristab risoomi juurest soomusjate leherudimentide olemasolu.



3.3. Varre teiskasv

Varre teiskasv (joonis) seisneb uute kudede tekkimises, mille tagajärjeks on juhtkimpude mahu suurenemine ja seeläbi varre jämenemine, mitte aga pikenemine. Teiskasv on iseloomulik paljasseemnetaimedele ja puitunud, harvem rohtsetele kaheidulehelistele. Viimastel esineb seda harva ja piiratud ulatuses. Üheidulehelistel taimedel teiskasv enamasti puudub või olemasolul erineb teiste soontaimede omast. Üheiduleheliste teiskasvu siin ei käsitleta.

Kõik koed, mida kambium toodab väljapoole, moodustavad teiskoore, sissepoole tekib aga teispuit. Vegetatsiooniperioodil esineb kambium enamasti mitme rakukihi paksuse kambiaalse tsoonina, puhkeolekus on kambium harilikult ühekihiline. Parasvöötmealade taimede teispuidus võib eristada aastaringe (iga-aastast juurdekasvu). Kevadel toodab kambium enamasti suure läbimõõduga trahheesid ja trahheiide, suvel ja sügisel aga väikese diameetriga kitsaid trahheiide ning rohkem puidukiude ja põhikudet.

Teisksüleemi moodustumisel lõpetab esiksüleem funktsioneerimise, protoksüleem hävib, kuid protoksüleemis leidunud säsirakud võivad funktsioneerida veel aastaid. Varre keskosas asuv säsi võib olla sekundaarsete kudede poolt kokku surutud.

Kõige selgemini on aastarõngaste piirjooned nähtavad okaspuudel. Lehtpuudest eristuvad aastarõngad hästi rõngassoonelistel liikidel. Aastarõngaste kevad- ja sügisosa erineb siin mõnevõrra värvuse, suuremal määral aga tiheduse poolest. Kevadosa koosneb suure läbimõõduga trahheedest, mis ristlõigul on vaadeldavad augukeste selge reana. Sügiseses osas on ülekaalus puidukiud ja väiksema läbimõõduga trahheiidid. Varjatud rõngassoonelistel liikidel paiknevad kevadosas rohkearvulised suured trahheiidid, sügiseses osas on need väiksema läbimõõduga ning trahheiidide vahele jääb rohkesti puidukiude. Hajussoonelistel lehtpuudel on aastarõngaid raske eristada, kuna sügis- ja kevadpuit erineb üksteisest vähe.

Puidu määramisel on olulisteks tunnusteks säsikiirte laius, värvus ja hulk. Esineb üherealisi (okaspuudel, haaval), mitmerealisi (vahtral) ning laiu (tammel) säsikiiri. Mitmerealised või laiad säsikiired on nähtavad puidus palja silmagagi, kitsad säsikiired aga ainult mikroskoobi abil.

Vanemate puutüvede ksüleemis saab reeglina eristada kaht osa -- sisemist, tihedamat, kõvemat ja värvuselt tumedamat lülipuitu ning välimist, heledamat maltspuitu. Lülipuit ainete transpordis enam ei osale, sest siin on trahheed ja trahheiidid ummistunud tüllidega -- ksüleemi põhikoe rakkude tsütoplasma väljasopistustega. Lülipuidus on ka ksüleemi põhikoe rakud surnud. Lülipuidu rakkude kestad on mõnedel liikidel läbi imbunud parkainetega, mis muudab puidu tumedamaks, kõvemaks ja lagunemisele vastupidavamaks.

Paljudel kaheidulehelistel muutuvad esifloeemi rakud talitluse lõppemisel niinekiududeks. Esikoor ja epiderm võivad eksisteerida veel aastaid, juhul kui nende rakud jagunevad vajalikul määral.

Teiskoor sisaldab samu rakutüüpe, mis primaarne niineosagi, kuid niinekiud ja sõeltorud asetsevad siin rühmiti. Kambium toodab vaheldumisi niinekiude ja sõeltorusid ning sõltub taimeliigist, mitu korda see suve jooksul vaheldub. Niinekimpude rühmi moodustub rohkem kui puidus aastarõngaid. Aastarõngad pole teiskoores nii selgelt eristunud kui teispuidus. Okaspuude floeem sisaldab ainult sõeltorusid ja floeemi põhikudet, saaterakke asendavad siin erilised albumiini sisaldavad rakud. Floeemi ulatuv säsikiir koosneb ainult elusatest rakkudest.

Juhtkimpe üksteisest eraldavad säsikiired on teispuidus juhtkimpude poolt kokku surutud ning tunduvalt kitsamad kui üheaastases oksas. Juhtkimpudes võime näha ka teissäsikiiri, mis ei alga varre keskosast, vaid mõne aastarõnga lähedusest.

Mitmeaastased varred on harilikult kaetud ebaühtlase paksusega felleemiga (korkkoega), mis koosneb lapikutest, tihedalt ja kohakuti asetsevatest korgistunud surnud rakkudest. Felleemist väljaspool võib leiduda ka epidermi jäänuseid. Felleemi all asub õhuke (enamasti kahekihiline) tsütoplasmarikas kude -- fellogeen ehk korgikambium, mis väljaspoole toodab felleemi, sisse aga esikoore põhikoele sarnanevaid rakke -- fellodermi.

Kõiki fellogeenist tekkinud kudesid nimetatakse peridermiks. Fellogeen lõpetab mõne aja pärast tegevuse, sügavamal tekib aga uus fellogeeni kiht, mis toodab samuti felleemi ja fellodermi. Felleem ei lase läbi vett ega seal lahustunud toitaineid, seetõttu surevad kõik korkkoest väljapoole jäävad rakud. Nii tekib enamikul puittaimedel sekundaarne korkkude -- korp, mis koosneb peridermi, koore- ja niinerakkudest. Sklerenhüümrõngas rebeneb varre jämedamaks kasvades ribadeks ning korba tekkimisel kaob hoopis.

Koos epidermiga kaovad ka õhulõhed. Et gaasivahetus saaks jätkuda, tekivad korkkoesse lõved. Esialgu moodustuvad need endiste õhulõhede kohal. Siinsed fellodermi rakud muutuvad algkoe -- lõve fellogeeni -- rakkudeks. Lõve fellogeen toodab väljapoole kobedalt asetsevaid põhikoerakke -- täiterakke, sissepoole fellodermi. Lõve täiterakkude kest on õhem kui felleemi rakkudel. Vanad täiterakud tõugatakse väljapoole, meristeem kasvatab aga seestpoolt üha uusi täiterakke. Korba tekkimisel hävivad ka senised lõved. Uued lõved tekivad sügavamal asuvatest peridermi kihtidest. Lõved jagatakse ehitusest sõltuvalt kolme tüüpi:

1) täiterakud korgistuvad kohe; lihtsaim ehitustüüp, esineb näiteks perekondades pappel (Populus) ja pirnipuu (Pyrus);

2) täiterakud asenduvad korgistunud rakkudega alles vegetatsiooniperioodi lõpul, näiteks perekondades saar (Fraxinus), tamm (Quercus), pärn (Tilia) ja leeder (Sambucus);

3) kohevad korgistumata ja tihedad korgistunud rakkude kihid vahelduvad, näiteks perekondades kask (Betula), pöök (Fagus), ploomipuu (Prunus) ja robiinia (Robinia).

Kaheiduleheliste taimede teiskasvu põhitüübid on järgmised (joonis):

Tilia-tüüp, kambium asetseb algusest saadik pideva rõngana;

Aristolochia-tüüp, algul esineb vaid kimbukambium, teiskasvu ilmudes tekib ka inter-fastsikulaarkambium, mille talitlemisel moodustub küll pidev kambiumirõngas, ent juhtkimbud jäävad eraldi;

Helianthus-tüüp, sarnaneb eelmisele, kuid kimbuvahekambium tekitab uusi juhtkimpe;

Ricinus-tüüp, esikasv sarnaneb Aristolochia-tüübile, kuid kimbuvahekambiumi tegevuse tulemusena muutub juhtkimpude eristamine võimatuks.



4. JUUR

4.1. Juure esikasv

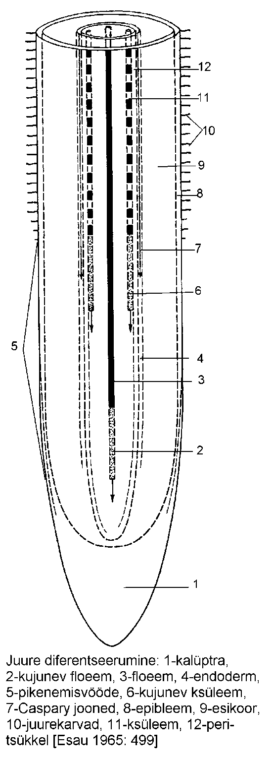
Juure tipus asuv kasvukuhik (joonis) sarnaneb ehituselt ja talitluselt varre kasvukuhikuga. Erinevuseks on juure initsiaalrakkude omadus toota meristemaatilisi rakke ka väljapoole. Need algkoe rakud moodustavad kalüptrogeeni, mille talitlemisel kujuneb õrnu initsiaalrakke vigastuste eest kaitsev juurekübar ehk kalüptra.

Juurekübara rakkudes leidub suuri amüloplaste -- statoliite, mis toimivad tasakaalukehadena. Statoliitide tõttu kasvavad juured vertikaalselt allapoole (positiivne geotropism). Taim ei kasuta statoliittärklist ka kõige suurema toitainete puuduse korral.

Initsiaalrakkudele vahetult järgnevat juure osa nimetatakse jagunemisvöötmeks. Intensiivse ja kiire jagunemise tõttu jäävad siinsed rakud väikesteks.

Järgneb pikenemis- ehk kasvuvööde. Selle vöötme rakud poolduvad harva, küll aga toimub nende pikenemine. Tsütoplasmas tekivad esimesed vakuoolid.

Edasi tuleb juure imamis- ehk diferentseerumisvööde, kus kujunevad püsikoed ja tekib hulgaliselt juurekarvu.

Diferentseerumisvöötme ja juurekaela (juure varreks ülemineku koht) vahelises osas -- juhtimisvöötmes -- kujunevad külgjuured. Juurekarvad on selles juureosas surnud, mistõttu vööde ise vett ja mineraalsooli ei ima, vaid ainult juhib neid edasi.

Primaarse ehitusega juur on kaetud epibleemiga (risodermiga), mis talitleb imikoena.Juurekarvadega epibleemi rakke nimetatakse trihhoblastideks. Enamasti vahelduvad trihhoblastid epibleemi rakkudega, millel pole juurekarvu.

Epibleemi all asub isodiameetrilistest rakkudest esikoor. Esikoore väline kiht -- eksoderm -- koosneb tihedalt üksteise vastu liibunud nurgelistest rakkudest, mis vanemas eas sageli korgistuvad. Mõnikord võib siin näha ka rakukestade erilisi paksendeid -- Caspary jooni. Arvatakse, et need aitavad reguleerida ainete transporti. Enamusel soontaimedest on juure eksoderm hästi arenenud.

Eksodermile järgneb esikoore põhikude. Esikoore ja epibleemi põhiülesandeks on vee ja selles lahustunud mineraalainete imamine ning transport steeli suunas. Vee- ja sootaimedel ning teistel õhuvaesesse pinnasesse kinnituvatel liikidel tekivad esikoores skiso- või lüsigeensed õhukambrid ning moodustub aerenhüüm.

Esikoore sisemine kiht, endoderm (joonis), koosneb nii puitunud ja korgistunud paksukestalistest rakkudest kui ka õhukesekestalistest elusatest läbilaskerakkudest. Viimased võimaldavad mineraalainetel ja veel kesksilindrisse liikuda. Endodermi rakkude paksenenud kestadel võib leida Caspary jooni.

Kesksilindri välimine kiht -- peritsükkel (perikambium) -- koosneb enamasti ühest, harvem mitmest reast elusatest, meristemaatilistest rakkudest. Juure peritsükli üheks funktsiooniks on külgjuurte moodustamine. Vaid üksikutel vee- ja parasiittaimedel pole peritsüklit leitud.

Peritsüklist seespool asub radiaalne juhtkimp, kus ksüleem ja floeem on asetunud vaheldumisi, ribadena. Sellist ühe radiaalse juhtkimbuga steeli nimetatakse aktinosteeliks (ka kiirjaks ehk radiaalseks steeliks). Sõltuvalt ksüleemi ja vastavalt ka floeemi kimpude arvust võib aktinosteel (joonis) olla kas

monarhne (1 kimp), esineb mõnedel sõnajalgadel,

diarhne (2 kimpu), sõnajalg- ja paljasseemnetaimedel, korvõielistel (Asteraceae), ristõielistel (Brassicaceae), sarikalistel (Apiaceae) jt. õistaimede sugukondadel,

triarhne (3 kiirt),

tetrarhne (4 kiirt),

pentarhne (5 kiirt),

heksarhne (6 kiirt) või

polüarhne (ksüleemikimpe üle kuue); üheidulehelistel taimedel. Tetrarhne, pentarhne ja heksarhne steel on iseloomulik enamikule kaheidulehelistest.

Ksüleemis on kerge eristada väikese läbimõõduga trahheiididest protoksüleemi (ksüleemikiirte tippudes) ja suurtest astrik-, võrk- ja poortrahheedest koosnevat metaksüleemi. Floeemikimbud asuvad vaheldumisi ksüleemikiirtega.



4.2. Juure teiskasv

Sekundaarse ehitusega juures on kambiumi tegevuse tulemusena moodustunud teisksüleem ja -floeem. Kaheidulehelistel taimedel tekib kambium floeemi ja ksüleemi vahele. Niinekimpudest seespool asuv kambium funktsioneerib alguses aktiivsemalt ning seeläbi muutub laineline kambiumikiht peagi ümaraks ja juure teiskasv toimub edaspidi ühtlaselt (joonis).

Peritsüklist kujuneb fellogeen, mis väljapoole moodustab felleemi. Peridermi tekkimise tõttu katkeb ainevahetus esikoore ja kesksilindri vahel; esikoor sureb ning irdub. Teiskoore moodustavad koed, mida kambium toodab väljapoole: floeem, teiskoore põhikude koos peridermiga (joonis).

Juure teisksüleem erineb varre teispuidust järgmiste iseärasuste poolest:

1) säsikiired on suuremad, need ei kulge rangelt radiaalselt;

2) ksüleemi põhikudet on rohkem, puidukiude vähem;

3) trahheesid ja trahheiide on arvukamalt ja need on suurema läbimõõduga ning laiemate pooridega, tülle tekib haruharva;

4) malts- ja lülipuit ei erine teineteisest nii selgesti. Teisfloeemis on niinekiude vähem ja sõeltorude läbimõõt on suurem.

Üheidulehelistel taimedel teiskasv puudub, nende juured võivad aga puituda ja sel teel väga tugevateks muutuda. Peridermi küll ei esine, kuid endodermi ja esikoore põhikoe sisemised rakud korgistuvad ning puituvad, moodustades niimoodi juurt kaitsva katte.



4.3. Juure muudendid

Juure muudendite suurest hulgast vaatleme praktikumides säilitusjuuri, juuremügaratega juuri, mükoriisat, haustoreid ja õhujuuri. Lisaks neile on troopiliste alade taimedele väga olulised mitmesugused tugijuured mangroovisoodes ja ronijuured. Parasvöötmealade liikidel on laialdaselt levinud tõmbejuured (kontraktiiljuured, radices contractiles), mis aitavad maa-alusel osal teatavas sügavuses püsida. Eriti oluline on see taimede talvitumisel.

Säilitusjuur võib tekkida ja pakseneda neljal erineval moel:

1) kambiumirõngas toodab sekundaarset ksüleemi rohkem kui sekundaarset floeemi. Sekundaarse ksüleemi juhtkudede ja puidukiudude vahele moodustub rohkesti õhukesekestalisi, varuaineid sisaldavaid põhikoerakke. Esineb näiteks redisel (Raphanus sativus).

2) kambiumirõngas toodab sekundaarset floeemi rohkem kui sekundaarset ksüleemi. Sekundaarne floeem koosneb valdavalt põhikoerakkudest; esineb porgandil (Daucus sativus).

3) juures tekib hulgaliselt sekundaarseid kambiumirõngaid (polükambiaalsus). Varajane teiskasv sarnaneb tavalisele juure paksenemisele. Esimene, algselt ühekihiline lisakambiumi rõngas tekib peritsükli ja floeemi põhikoe rakkudest. Peagi jagunevad rakud tangentsiaalselt, moodustub kahekihiline meristeemkude. Sisekiht hakkab floeemi ja ksüleemi tootma, välimine kiht muutub mõne aja pärast uuesti kahekihiliseks, tekitades teise lisakambiumi rõnga. See jaguneb omakorda kahekihiliseks: selle välimised rakud diferentseeruvad kolmandaks lisakambiumi rõngaks, sisemisest rakukihist tekib aga teine juhtkimpude ring ja põhikude. Kolmas lisakambiumi rõngas võtab osa neljanda kambiumirõnga ja kolmanda juhtkimpude ringi moodustamisest jne. Polükambiaalse tekkega on peedi (Beta vulgaris) säilitusjuur.

4) juur pakseneb külg- või lisajuurte tüsenemise tõttu, tekib muguljuur. Muguljuureks võib muutuda juur tervikuna või mingi osa sellest, juur võib pakseneda ka katkendlikult. Esineb käpaliste (Orchidaceae) sugukonnas, kanakoolmel (Ranunculus ficaria), daaliatel (Dahlia sp.) jt.



Juuremügarad esinevad kaunviljaliste ehk leguminooside seltsi (Fabales) kõikides sugukondades: liblikõielised (Fabaceae, peaaegu kõikidel liikidel), mimoosilised (Mimosaceae, enamikul liikidest) ja tsesalpiinialised (Caesalpiniaceae, vähem kui pooltel liikidel). Lisaks kaunviljalistele leidub juuremügaraid veel kaheksa sugukonna 140 liigil; näiteks porsal (Myrica gale), mõnel murakal (Rubus sp.), astelpajul (Hippophaë rhamnoides), hõbepuul (Elaeagnus sp.), leppadel (Alnus sp.), drüüasel (Dryas octopetala) ja kasuariinil (Casuarina sp.).

Liblikõieliste juuremügaraid põhjustavad mullas vabaltelavad õhulämmastikku siduvad bakterid enamasti perekondadest Rhizobium ja Bradyrhizobium, ülejäänud taimeliikidel kiirikseened (Actinomycetes, perekond Frankia).

Põhjalikumalt on uuritud liblikõieliste juuremügaraid. Bakterid, tunginud juurekarvade kaudu koore põhikoesse, poolduvad jõudsalt ning tungivad üha uutesse rakkudesse. Nakatunud taimerakud suurenevad, nende kromosoomide arv kahekordistub ning nii tekib bakteroidkude. Taim lagundab pidevalt bakterirakke ja omastab bakterite fikseeritud lämmastikühendeid, bakterid aga kasutavad taimseid sahhariide.

Mükoriisa (seenjuur) on osa sugukondade, nagu kanarbikulised (Ericaceae) või käpalised (Orchidaceae), liikide jaoks obligatoorne, teistel võib esineda fakultatiivsena. Mõne sugukonna taimed ei moodusta mükoriisat, seda ei esine ka vee- ja üheaastastel taimedel. Hüüfide paigutuse järgi võib mükoriisad jagada üldjoontes ka-heks (mükoriisauurijad kasutavad enamasti märksa detailsemat jaotust):

1) vesikulaar-arbuskulaarne (nimetatud ka endotroofseks mükoriisaks) -- levinuim tüüp, mis on nime saanud juure esikoore põhikoe rakkudes asuvate põisjate seenehüüfide järgi. Sellise mükoriisaga juuri pole väliselt võimalik nakatumata juurtest eristada. Taimerakud võivad hüüfe seedida, seda nähtust nimetatakse mükofaagiaks.

Vesikulaar-arbuskulaarne mükoriisa esineb obligatoorse mükoriisana peaaegu kõikides katteseemnetaimede sugukondades, välja arvatud lõikheinalised (Cyperaceae), ristõielised (Brassicaceae) ja maltsalised (Chenopodiaceae). Vesikulaar-arbuskulaarset mükoriisat moodustavad seened kuuluvad sugukonda Endogonaceae (klass seigseened - Zygomycetes);

Vesikulaar-arbuskulaarne mükoriisa esineb peaaegu kõikidel käpalistel (Orchidaceae), kusjuures klorofüllita heterotroofsed liigid -- pisikäpp (Epipogium aphyllum), pruunikas pesajuur (Neottia nidus-avis) ja kõdu-koralljuur (Corallorhiza trifida) -- saavad kogu vee ja toitained seentelt.

2) ektotroofne -- hüüfid on juure koore põhikoe rakkude vahel (Hartigi võrk) ning tiheda kattena juure välispinnal, moodustades juurt ümbritseva mantli (mükodermi). Ektotroofse mükoriisaga juured on tömbid, paksenenud, kujult enamasti koraljad, keeljad või pintseljad; juurekarvad puuduvad. Niisugune mükoriisa esineb 3% seemnetaimedest, enamasti puudel. Mükoriisa moodustajateks on kandseened (Basidiomycetes), lehikulaadsete (Agaricales) seltsi kuuluvad puravikud (Boletus), pilvikud (Russula), riisikad (Lactarius) jt.

Ektotroofse mükoriisa alatüübina võib eristada ekto-endotroofset mükoriisat, kus osa hüüfe on tunginud rakkude sisse. See on ekto- ja endomükoriisa vahepealne tüüp, esineb perekondades mänd (Pinus) ja kuusk (Picea) ning seltsis kanarbikulaadsed (Ericales).

Parasiitide imijuured (haustorid). Pool- ehk hemiparasiitideks nimetatakse taimi, kes on võimelised küll ise fotosünteesima, kuid osa toitaineid võtavad need peremeestaimelt; täielikud parasiidid (obligaat- ehk holoparasiidid) pole võimelised iseseisvalt (auto-troofselt) toituma.

Parasiittaimede juurtel arenevad haustorid ehk imitorud, millega need kinnituvad peremehe külge ning mille abil omastavad temalt toitaineid. Nende keskosas on pikad spiraalpaksenditega trahheiidid, mille abil vesi ja toitained juhitakse parasiidi ksüleemi. Tun-ginud peremehe juhtkimpu, limastuvad parasiidi hüüfitaoliste piklike rakkude tipud, mille tulemusena peremehe ja parasiidi tsütoplasmad puutuvad kokku. Morfoloogiliselt on haustor lisajuur. Mõnel parasiidil (võrm -- Cuscuta) areneb idanemisel kõigepealt lühike peajuur, mis aga õige pea sureb, teiste parasiittaimede (soomukas - Orobanche) seemned idanevad ainult pärast kokkupuudet peremeestaime juurega.

Õhujuured kitsamas mõttes on õhust niiskust koguvad juured, laiemas käsitluses kuuluvad siia kõik õhkkeskkonnas paiknevad ja talitlevad juured, sealhulgas assimileerivad ning hingamisjuured. Veeauru imavad juured esinevad troopilistel epifüütidel sugukondadest käpalised (Orchidaceae), bromeelialised (Bromeliaceae) ja võhalised (Araceae). Lisaks õhujuurtele esineb epifüütidel ka tavalisi toitumis- ja kinnitusjuuri. Kui õhujuur ulatub mulda, areneb selle tipust tavaline juur.

Õhujuured on kaetud juurenahaga (velamen radicum), mis otsekui filterpaber endasse niiskust imab. Juurenaha ülesandeks peetakse ka juure kaitsmist mehaaniliste vigastuste eest ning transpiratsiooni vähendamist juurest. Tekkelt vastab juurenahk mullas arenevate juurte risodermile, kuid on mitmekihiline.